Trochę nowej generacji i trochę informacji o samych grach. Oto najciekawsze newsy dotyczące gier wideo z 19.02.2020.
Cyberpunk 2077 na Macu dzięki GeForce Now
Otrzymaliśmy oficjalne potwierdzenie dotyczące Cyberpunka 2077 w GeForce Now. Usługa gry w chmurze straciła ostatnio kilka gier, a obecność gry CD Projekt RED stanęła pod znakiem zapytania. Wiemy już jednak, że gra będzie dostępna poprzez chmurę NVIDII, a posiadacze konta Founders zagrają z ray-tracingiem.
Nowa generacja z doskonałym dźwiękiem
Jakiś czas temu Sony przyznało, że dźwięk w konsolach był zaniedbywany i dlatego też PlayStation 5 otrzyma rewolucyjne rozwiązania dotyczącego udźwiękowienia. Teraz Microsoft również potwierdził, że ich Xbox Series X otrzyma specjalne podzespoły, które będą oferowały dźwięk nowej generacji.
Jeśli pamiętacie jeszcze o Biomutant to są dobre wieści
Prawdopodobnie już zapomnieliście o jakiej grze mowa. W takim razie pomoże gameplay odświeżyć pamięć.
O Biomutant było od dłuższego czasu cicho, ale teraz twórcy potwierdzili, że po prostu ciężko pracują nad ważnymi elementami gry i tytuł na pewno powstanie. Daty wydania jednak nie podano.
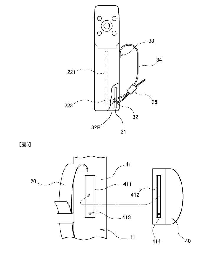
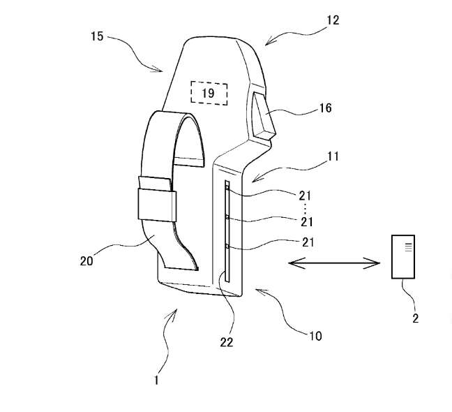
PlayStation VR 2.0 z kanciastymi kontrolerami
W sieci pojawiły się grafiki przedstawiające ewentualne kontrolery PlayStation VR 2. Pamiętajcie, że to tylko patenty i sprzęt ostatecznie może się różnić, ale to co zwraca uwagę w przypadku tego pomysłu to… kanciastość.
![Najciekawsze newsy - gry [19.02.2020]](https://whatnext.pl/wp-content/uploads/2020/02/najciekawsze-newsy-gry-19022020-1.jpg)
![Najciekawsze newsy - gry [19.02.2020]](https://whatnext.pl/wp-content/uploads/2020/02/1-2.jpg)
![Najciekawsze newsy - gry [19.02.2020]](https://whatnext.pl/wp-content/uploads/2020/02/2-2.jpg)
![Najciekawsze newsy - gry [19.02.2020]](https://whatnext.pl/wp-content/uploads/2020/02/3-2.jpg)
![Najciekawsze newsy - gry [19.02.2020]](https://whatnext.pl/wp-content/uploads/2020/02/4-1.jpg)
