Przed dwoma laty Tesla złożyła oficjalny wniosek o opatentowanie swojego nowego sposobu na radzenie sobie z zabrudzeniami na szybach. Dziś ten został oficjalnie zatwierdzony i przypisany firmie, jako wyłączna wartość intelektualna, co przybliżyło nas do tego, że „laserowe wycieraczki Tesli”, czyli lasery do oczyszczania szyb, staną się rzeczywistością.
Są szanse, że po raz pierwszy laserowe wycieraczki Tesli trafią do Cybertrucka
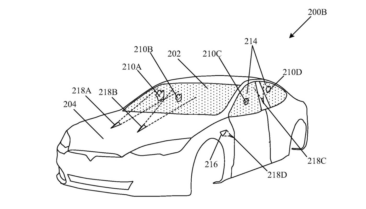
Wspomniany patent dotyczy systemu, który wykorzystuje lasery do czyszczenia szkła nie tylko szyb, ale również szklanych osłon kamer dookoła samochodu. Zgodnie z nim, taki system wykorzystuje kamery do wykrywania zanieczyszczeń na szybach przednich, bocznych i tylnych, jak również obiektywach kamer.
Czytaj też: Braki półprzewodników w motoryzacji – jak długo potrwa problem?

Po wykryciu zanieczyszczenia ma zacząć na niego oddziaływać wbudowany w samochód laser. Ten jest wykorzystywany w celu „napromieniowania obszaru na szklanym wyrobie pojazdu”, podczas czego laser jest nieustannie dostosowywany pod kątem ekspozycji czy pulsowania. To „ogranicza penetrację wiązki laserowej do głębokości mniejszej niż grubość wyrobu szklanego i usuwa zanieczyszczenia”.
Czytaj też: Subaru WRX piątej generacji już oficjalnie. Co z manualną skrzynią?
Gdzie Tesla po raz pierwszy zaimplementuje tego typu system radzenia sobie z zabrudzeniami na szybach? Najpewniej w Cybertrucku w formie opcjonalnego dodatku, bo pokazany 21 listopada 2019 roku prototyp nie miał żadnych wycieraczek. Jednak oficjalnie nic o tym nie wiadomo, a Tesla milczy.


