Już dawno minęły czasy spartańskiej ,pod kątem technologii, kabiny w samochodach nawet z niższej półki. Tam wprawdzie zegary nadal pozostają analogowe, ale na samym środku w większości przypadków (zwłaszcza w nowych generacjach), znajduje się stosowny ekran cyfrowy. Wygląda jednak na to, że Hyundai chce pójść krok dalej i dorzucić na pokład kolejny wyświetlacz. Czy kierownica z ekranem ma sens?
Hyundai najwyraźniej chce, żeby kierownica z ekranem zastąpiła wyświetlacz za kierownicą
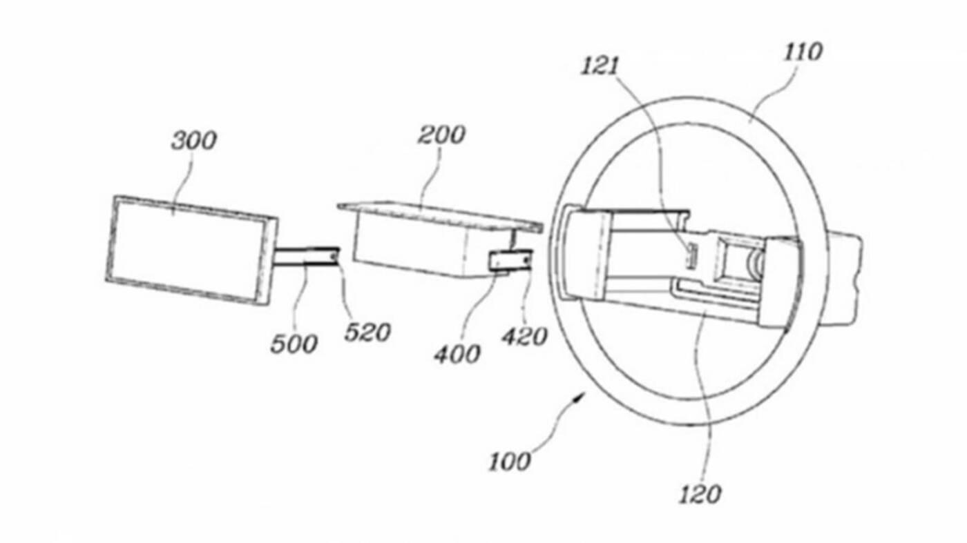
Ten południowokoreański producent samochodów złożył niedawno wniosek o patent, który obejmuje dodanie ekranu bezpośrednio w sam środek kierownicy. To ewidentnie krok dalej względem koncepcji Virtual Cockpit Study firmy sprzed dwóch lat, co sprowadzało się do dodania dwóch sporych ekranów dotykowych w przeciwległych rogach kierownicy. Uratowało to firmę przed potrzebą dodawania na nią kierownicy.
Czytaj też: Pamiętacie Cyberquada Tesli? Firma zaczęła działać w temacie tego elektrycznego ATV

Przed czym jednak uchroni projektantów Hyundaia dodawanie dużego ekranu na samym środku kierownicy? Najpewniej przed bałaganem na desce rozdzielczej, bo dzięki temu przeniósłby ekran zza kierownicy bezpośrednio na nią, a ten wyświetlałby zegary i podstawowe informacje o samochodzie (via Motorionline).
Czytaj też: Oto pierwszy elektryczny Rolls-Royce. Firma ujawniła Spectre
Jeśli z kolei idzie o poduszkę powietrzną, to ta nadal będzie w kierownicy i nawet nie zniszczy ekranu podczas wypadku, dzięki oddzielonym od siebie mocowaniom. Jednak na ten moment w grę wchodzi tylko patent – więcej informacji na ten temat zdradzi nam zapewne dopiero pełnoprawna koncepcja samochodu z tego typu „nowoczesną kierownicą”.

