Ferrari nie śpieszy się ze swoim elektrycznym samochodem i tak naprawdę poczekamy na niego jeszcze dobre pięć lat, ale przynajmniej dostaliśmy nieco szczegółów na jego temat.
Jednak zgłoszenie patentowe Ferrari, które wyciekło przez forum Taycan EV, ujawnia niewiele informacji na temat przyszłego elektrycznego supersamochodu firmy.
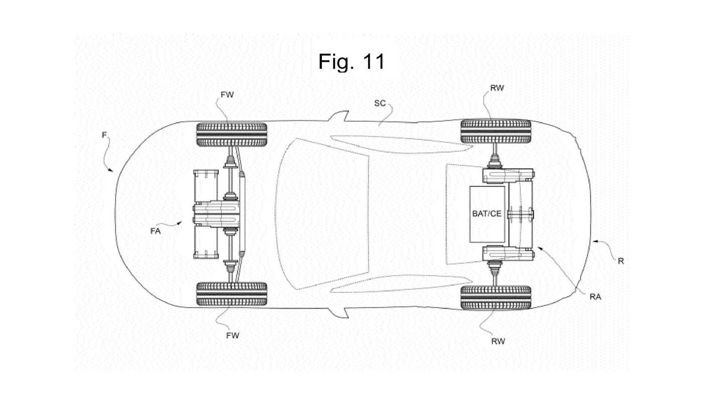
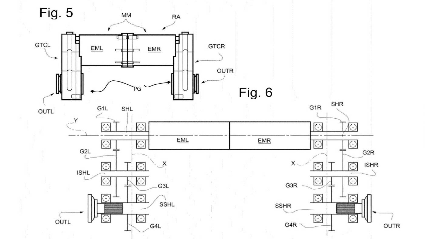
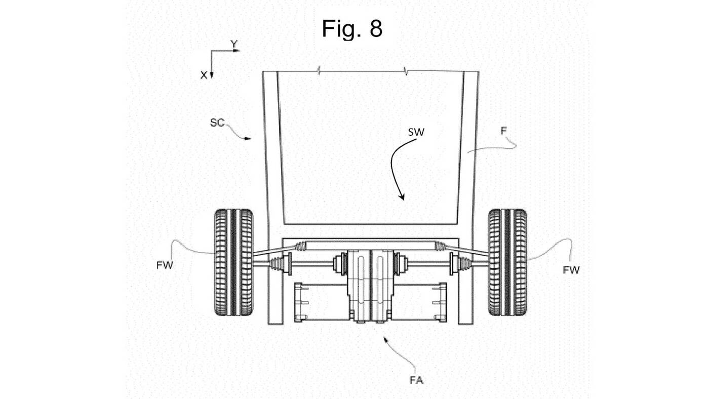
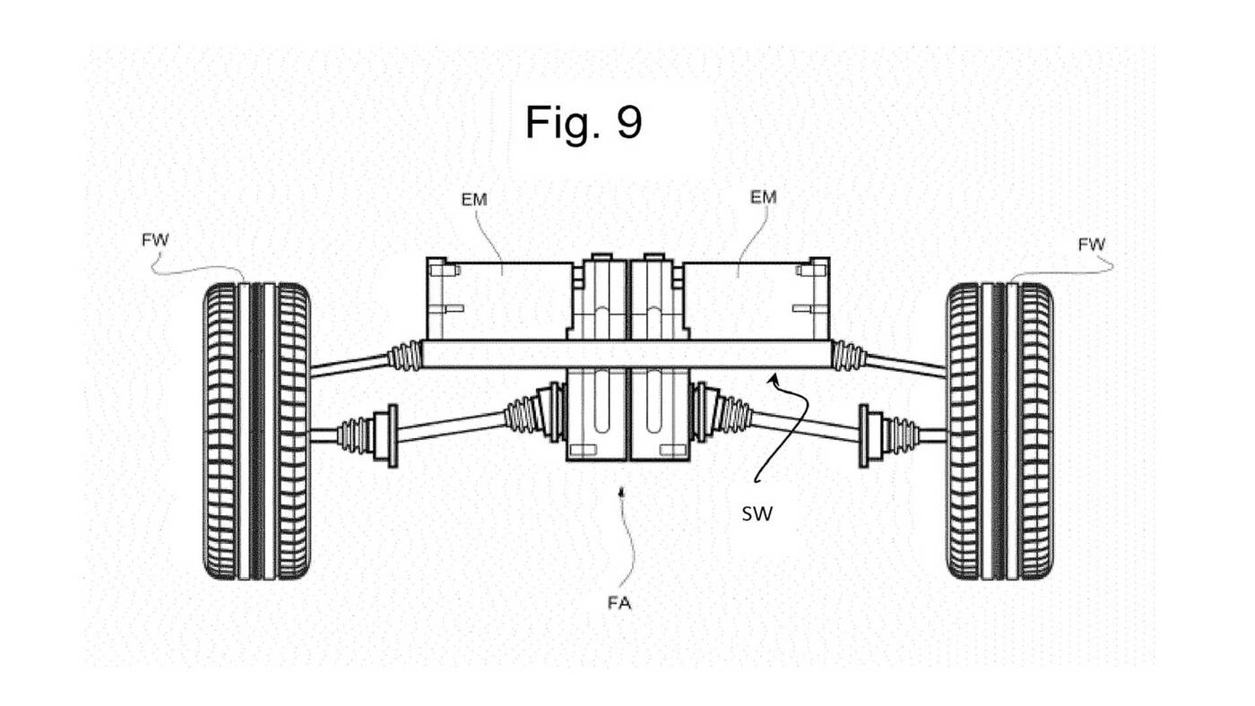
Zgodnie z oczekiwaniami, nadchodzące Ferrari EV będzie miało cztery silniki elektryczne – po jednym na każde koło. Te będą działać niezależnie od siebie, aby zachowywać możliwie najwyższe osiągi, a moment obrotowy będą przekazywać bezpośrednio na koło.
Innymi słowy, Ferrari postara się o możliwie najbardziej precyzyjne wektorowanie momentu obrotowego. Jak widzimy wyżej, akumulator zostanie z kolei umieszczony w wolnej przestrzeni za tylnymi kołami, jak w większości dzisiejszych pojazdów elektrycznych.
Warto mieć z tyłu głowy, że tego zgłoszenia patentowego nie powinniśmy traktować, jako pewny przykład tego, co szykuje Ferrari na swój pierwszy elektryczny supersamochód.





