Surface Duo i Neo zostały ogłoszone na początku października. Jednakże do ich wprowadzenia do sprzedaży jest jeszcze sporo czasu.
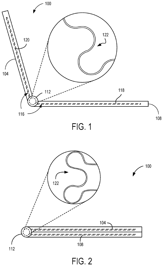
Właśnie w sieci pojawił się patent dotyczący chłodzenia tych urządzeń. Jest to rozwiązanie podobne do tego stosowanego w smartfonach. Microsoft rozszerzył chłodzenie o specjalny zawias – ma to zapewnić odpowiednie chłodzenie obu części urządzeń.
Czytaj też
Możliwe, że do stworzenia komory parowej wykorzystany zostanie tytan. Nie wiadomo jednak, czy rozwiązanie trafi do pierwszej generacji urządzeń, czy może dopiero do następnych. Takie chłodzenie z pewnością będzie w stanie zapewnić optymalne działanie Surface Duo i Neo w praktycznie wszystkich zastosowaniach.


