Serwis Gizchina dokopał się do kolejnego patentu złożonego przez Xiaomi. Jest to dość ciekawe urządzenie, bo z projektu wynika, że ma mieć zwijany ekran i obudowę rozsuwaną z dwóch stron.
Kolejny patent Xiaomi na smartfon z elastycznym wyświetlaczem
W ostatnim czasie dowiadujemy się o planach kolejnych producentów na smartfony z elastycznymi wyświetlaczami. Xiaomi, Oppo, Vivo, Honor, a nawet Google planują wypuszczenie takich urządzeń. Nic więc dziwnego, że skoro za jakiś czas rynek zaleje fala „składaków”, firmy szukają pomysłów na wybicie się na tle innych.
Czytaj też: Wiemy, kiedy zadebiutuje Galaxy F22 Samsunga
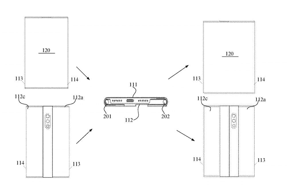
Takim urządzeniem może być właśnie smartfon, którego projekt opatentował Xiaomi. Informacja na ten temat wyłapał serwis Gizchina, a dzięki szkicowi projektowemu możemy zobaczyć, jak Xiaomi wyobraża sobie tego smartfona.
Czytaj też: Nokia porzuci Androida na rzecz HarmonyOS?
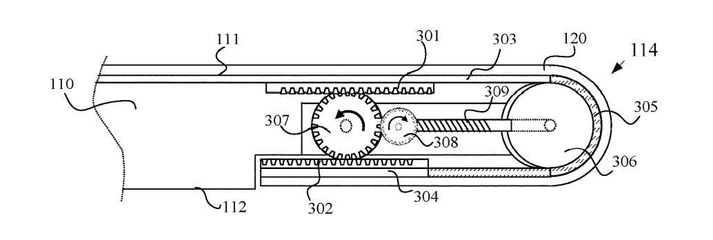
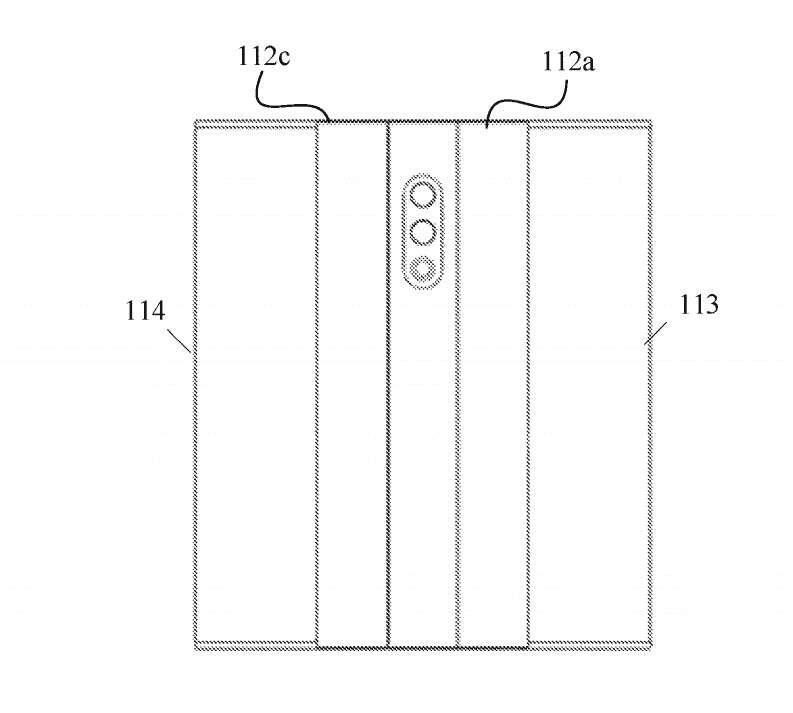
Jak widzicie to nie tylko urządzenie z rolowanym ekranem, ale również z opcją rozsuwania po obu stronach. Dzięki temu jego szerokość można byłoby zwiększyć dwukrotnie. Elastyczny wyświetlacz, po złożeniu, byłby zawijany wzdłuż jednej z krawędzi na tył smartfona. Byłoby to rozwiązanie bardzo podobne do tego Mi MIX Alpha, oczywiście w kwestii zawinięcia ekranu. Obecnie trudno powiedzieć, kiedy i czy w ogóle doczekamy się produkcji tego smartfona.








