Niektóre patenty BMW są zdecydowanie interesujące i nie inaczej jest z tymi ostatnimi, które dotyczą dosyć wyjątkowego elektrycznego skutera marki.
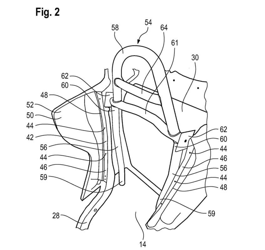
Najnowsze zgłoszenia patentowe pokazują, że BMW pracuje nad przekształceniem skuterów C Evolution w bardzo zaawansowany technicznie dwukołowiec, który wykorzystuje wiele technologii stosowanych w tradycyjnych samochodach. Najnowsze aktualizacje projektu wskazują, że ten prawdopodobnie będzie miał strefy zgniotu, które pomogą w poprawie bezpieczeństwa podczas zderzenia.
O bezpieczeństwo będzie też dbać 4-punktowa uprząż oraz zestaw poduszek powietrznych, który w chwili wypadku z kabiny zrobi jeden wielki bąbel powietrza, amortyzujący wszelkie uderzenia.

Jednak najbardziej imponuje i tak strefa zgniotu, która podczas uderzenia koncentruje się na dachu, choć tak naprawdę będzie dotyczyć wielu elementów. Co ciekawe, patenty zdradzają, że niektóre panele będą wymienialne po wypadku.
Czytaj też: BMW iNext wyszpiegowane w pełnym kamuflażu
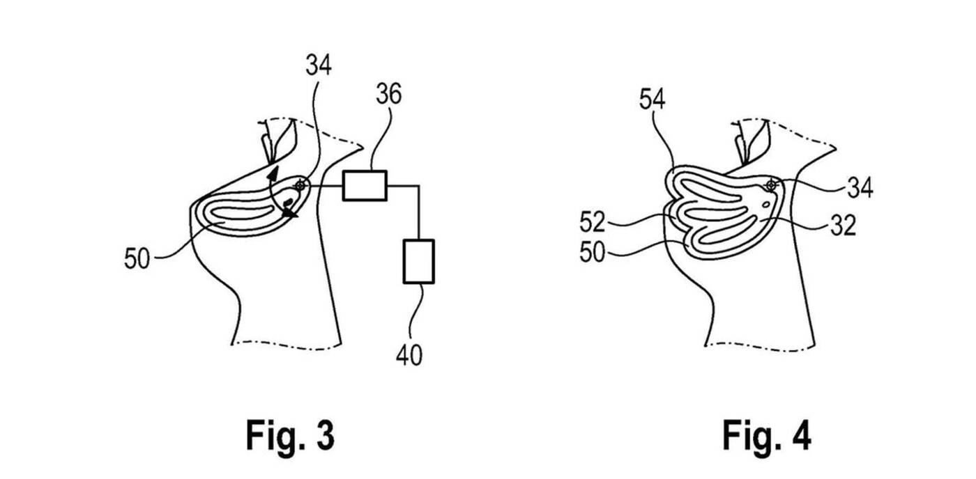
Co z kolei z oporem wiatru podczas jazdy? Inżynierowie BMW wzięli przykład prosto z lotnictwa, zapewniając aktywną aerodynamikę za pomocą regulowanych skrzydełek. Te działają jak lotki i będą sterowane komputerowo w celu automatycznego dostosowania kąta natarcia, aby zrównoważyć siłę bocznego wiatru na czaszy.
Nie wiemy jeszcze, czy i kiedy ten skuter/motocykl/dwukołowiec BMW trafi na rynek, ale wygląda na to, że firma solidnie nad nim pracuje.
Chcesz być na bieżąco z WhatNext? Śledź nas w Google News





