Zdaje się, że Sony nie zamierza odpuszczać oszustom na konsolach. PS5 będzie prawdopodobnie bezwzględne jeśli chodzi o cheaty.
Pojawił się nowy patent Sony, który można powiązać z PlayStation 5. Bezpośrednio odwołuj się on do grania po sieci, więc raczej nie ma mowy o tym, że Japończycy wykiwają wszystkich jak z kartridżami do zabawki dla dzieci.
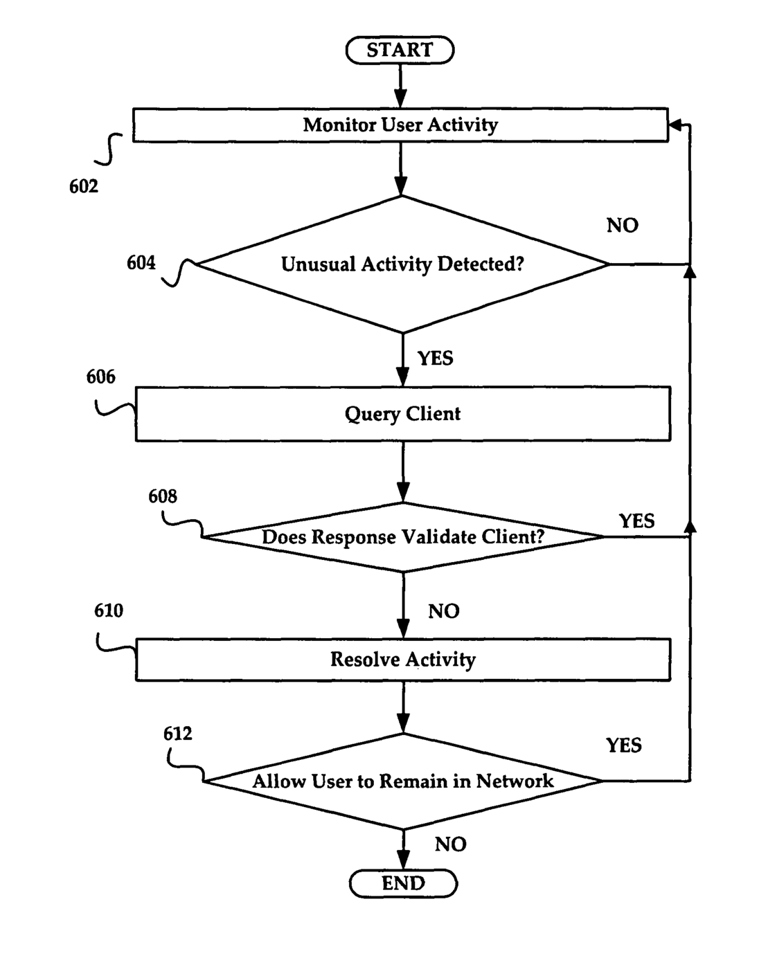
Nowy patent tłumaczy w jaki Sony będzie walczyło z oszustami w sieci. Specjalny program ma monitorować przez jakiś czas naszą rozgrywkę jeśli zabawa odbiega od normy.

System mógłby być wprowadzony na PlayStation 5 i jeśli dokładna analiza naszej rozgrywki będzie przez dłuższy czas wykazywała nieprawidłowości, to stracimy dostęp do sieci PlayStation.
Utrata połączenia z PlayStation Network to i tak w tym wypadku najmniejszy problem. Sony się nie patyczkuje i jako jedną z metod ukarania oszukującego gracza wskazuje zepsucie jego konsoli. Oszukiwanie w sieci może potencjalnie kończyć się zatem konsolą do wymiany. Czy można zatem mówić, że Sony będzie miało do PlayStation 5 „wielki czerwony guzik”, którym może zniszczyć sprzęt?


