Dostaliśmy wskazówkę na temat tego jak może działać „emulacja” gier z PS1, PS2 oraz PS3 na PS5. Co może planować Sony?
Przed oficjalnymi informacji na temat PlayStation 5 wielu graczy liczyło na to, że nowa konsola Sony będzie w stanie uruchamiać gry z PS1, PS2, PS3 i PS4. Działałoby to tak jak u Microsoftu.
Ostatecznie jednak wiemy, że Xbox Series X uruchomi wiele gier z klasycznego Xboxa, Xbox 360 oraz Xbox One. PlayStation 5 włączy za to niemalże wszystkie gry z PlayStation 4. Co jednak z resztą gier? Póki co Sony nie podaje żadnych wieści na ten temat.
Czytaj też: Darmowy Dirt 5 na PS5. Które gry ulepszymy bezpłatnie z PS4?
Czyżby zatem sprawa nie była jeszcze zamknięta? Wskazuje na to przynajmniej patent odnaleziony w sieci.

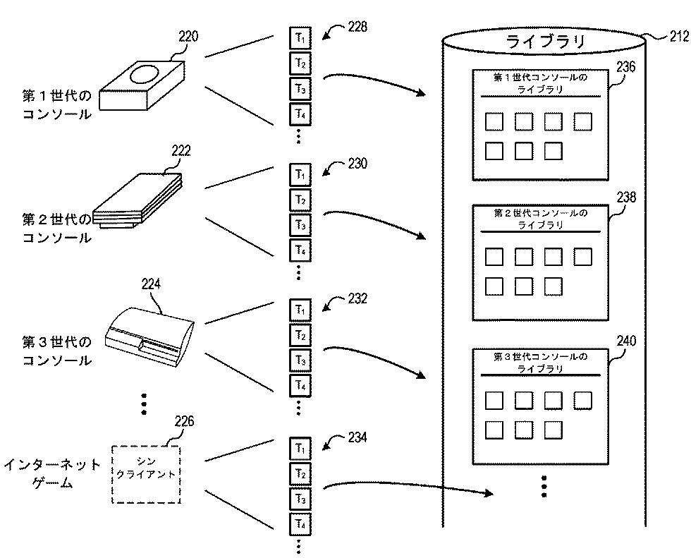
W dokumencie czytamy, iż za pomocą usługi sieciowej byłoby możliwe przesyłanie obrazu gier z konsol PS1/PS2/PS3. Dostęp do nich byłby do uzyskania za pomocą chmury. Gry z klasycznych konsol uruchamiane byłyby na wirtualnej maszynie, która emulowałaby system konsoli.
Oczywiście to tylko patent i Sony może tylko zaklepywać sobie taką funkcję, ale… czy to nie byłoby dobre rozwiązanie? Gry z PS4 będą jeszcze dość często ogrywane, więc bezproblemowo uruchomimy je z dysku konsoli. Jeśli ktoś będzie chciał powrócić do dawnej gry (co często zapewne nie będzie miało miejsca, więc po co tracić czas na wbudowywanie takie opcji do konsoli?) – wybierze go z listy PlayStation Now i zacznie grę.
Chcesz być na bieżąco z WhatNext? Śledź nas w Google News


