Malutki i dyskretny pierścionek z aparatem kojarzy nam się raczej z futurystyczną technologią rodem z filmów o Jamesie Bondzie. Tymczasem Google już pracuje nad takim rozwiązaniem, choć na rynku od jakiegoś czasu można spotkać „inteligentne pierścionki”.
Inteligentny pierścionek to żadna nowość…
Tak zwane inteligentne pierścionki na rynku można spotkać już od jakiegoś czasu, choć są to raczej gadżety niszowe. Do tej pory służyły jako urządzenia do zbierania takich parametrów ciała jak temperatura czy puls. A to, jak się okazało, może być przydatne nawet podczas trwającej pandemii Covid-19. Bardziej przyziemnym sposobem korzystania z tych gadżetów jest możliwość sterowania większymi urządzeniami.
Czytaj też: Najgorsze hasła 2020 roku – nimi nie zabezpieczycie niczego
Czytaj też: Opera dodaje funkcję odtwarzacza – jest tam Spotify i Apple Music
Czytaj też:Na Allegro kupimy usługi medyczne. O co chodzi?
…ale pierścionek z aparatem już tak.
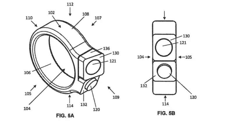
Google jednak ma zamiar to zmienić tworząc pierścionek z aparatem, czyli coś rodem z filmów szpiegowskich.W maju tego roku firma złożyła wniosek o patent na takie właśnie urządzenie, jednak opublikowano go dopiero w listopadzie tego roku. Dzięki temu mogliśmy się dowiedzieć kilku naprawdę interesujących szczegółów na temat planowanego projektu.

Dzięki grafice i krótkiemu opisowi wiemy, że będzie to naprawdę urządzenie, które można nosić na palcu. We wnętrzu pierścionka znajdzie się procesor służący do przetwarzania, koordynowania i przesyłania zebranych danych; urządzenie wejściowe, czujnik optyczny w postaci kamery z normalną albo automatyczną regulacją ostrości; nadajnik do przesyłu obrazów na urządzenia zewnętrzne; bateria i wskaźnik jej poziomu.
Do obsługi konieczny będzie dodatkowy sprzęt z ekranem, czyli np. smartfon, na który pierścionek prześle zrobione zdjęcie. Warto jednak pamiętać, że na razie jest to jedynie patent i zawsze istnieje możliwość, że Google go nie wykorzystać. Choć trzeba przyznać, że takie urządzenie byłoby z pewnością czymś bardzo ciekawym.
Chcesz być na bieżąco z WhatNext? Śledź nas w Google News

